

Любопытный патент: AMD придумала, как удвоить производительность DDR5
Ищете идеальный компьютер?
Мы поможем подобрать ПК под игры, работу или учебу.
Компания AMD подала заявку на интересный патент. В нём описывается принцип работы оперативной памяти HB-DIMM («высокопроизводительная DIMM»), которая может удвоить пропускную способность ОЗУ.
Что самое примечательное, для этого не требуются какие-то хитрые чипы оперативной памяти, особенные контроллеры памяти внутри процессора, радикальная модификация материнских плат и специальные слоты. Технология вписывается в рамки стандарта DDR5.
Краткое содержание
- AMD изучает новый подход к оперативной памяти;
- Теоретически это может удвоить пропускную способность без больших затрат;
- Есть минус — требуется двойной набор памяти.
Cложными словами
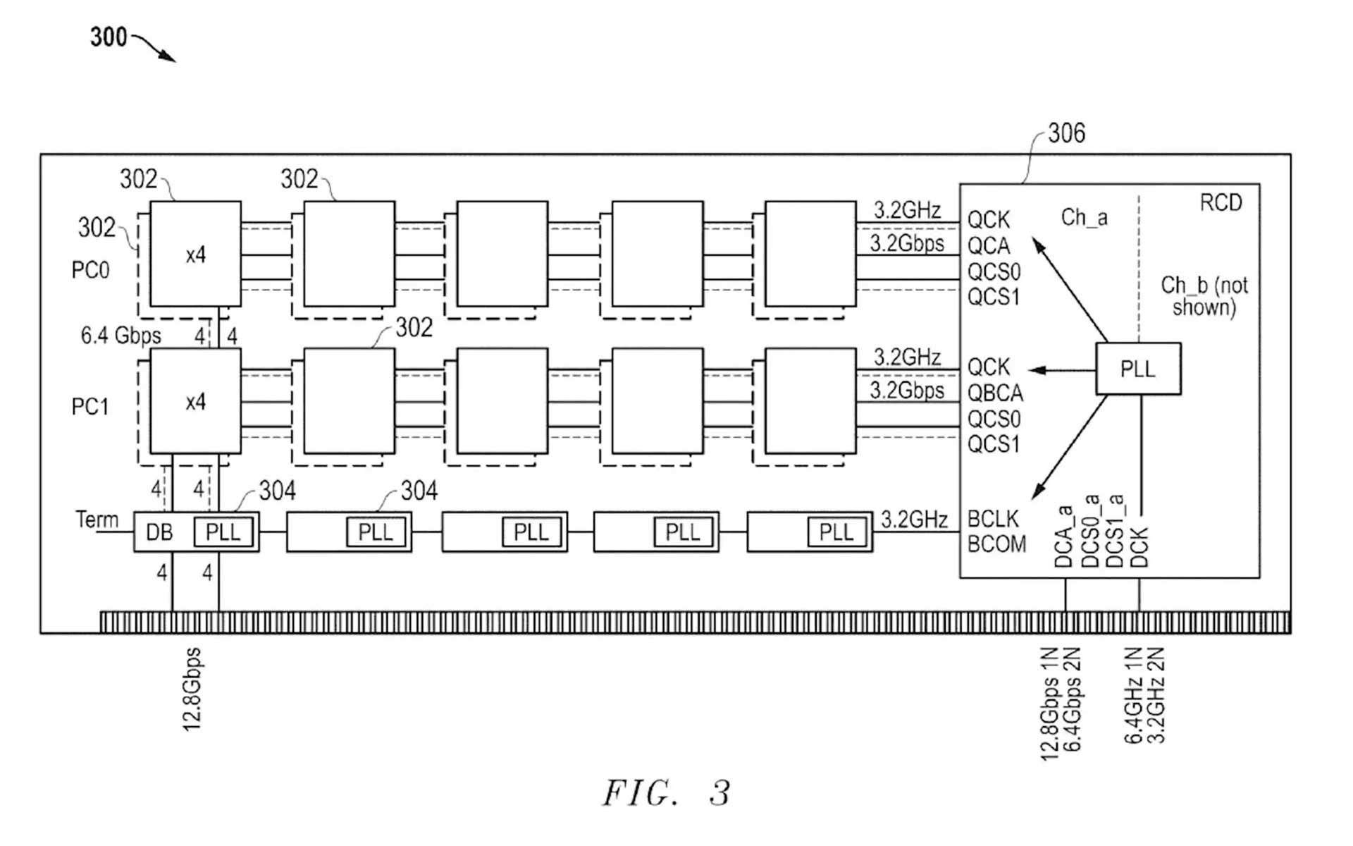
Ключевое нововведение — специальные регистровые чипы и дополнительные буферы данных. Фактически AMD пересматривает саму архитектуру и топологию модуля DDR5. Благодаря пересинхронизации, мультиплексированию и так называемым псевдоканалам пропускная способность памяти увеличивается с 6,4 Гбит/с на контакт до 12,8 Гбит/с на контакт.
В основе лежит схема драйвера тактового сигнала регистра, которая декодирует команды памяти и маршрутизирует их. Такой подход позволяет модулю распределять данные между независимыми псевдоканалам — параллельный доступ вместо последовательного. Также патент описывает механизмы снижения задержек и оптимизации энергопотребления.


Простыми словами
AMD предлагает развивать параллелизм. Грубо говоря, HB-DIMM — это двухканальный режим работы памяти, реализованный прямо на модуле ОЗУ. Контроллер памяти в процессоре работает как обычно, а сам модуль внутри себя хитро распределяет данные. Похожий принцип используется в топовых M.2 SSD.
Любопытный факт
AMD — чуть ли крупнейший новатор в сфере временного хранения данных. Именно AMD в своё время протолкнула стандарт DDR, который сейчас стал неотъемлемой частью почти любой электроники — от высокопроизводительных ПК до сетевых маршрутизаторов и смартфонов. Также AMD была соразработчиком многослойной памяти типа HBM, которая применяется в ИИ-ускорителях и редких видеокартах.
Минус
Это будет недешёво. Мало того, что на модуле нужно распаивать специальные буферные и регистровые чипы, но также потребуется и двойной набор памяти. То есть модуль, на котором физически распаяно 32 ГБ памяти, в действительности будет 16-гигабайтным.
Сфера применения
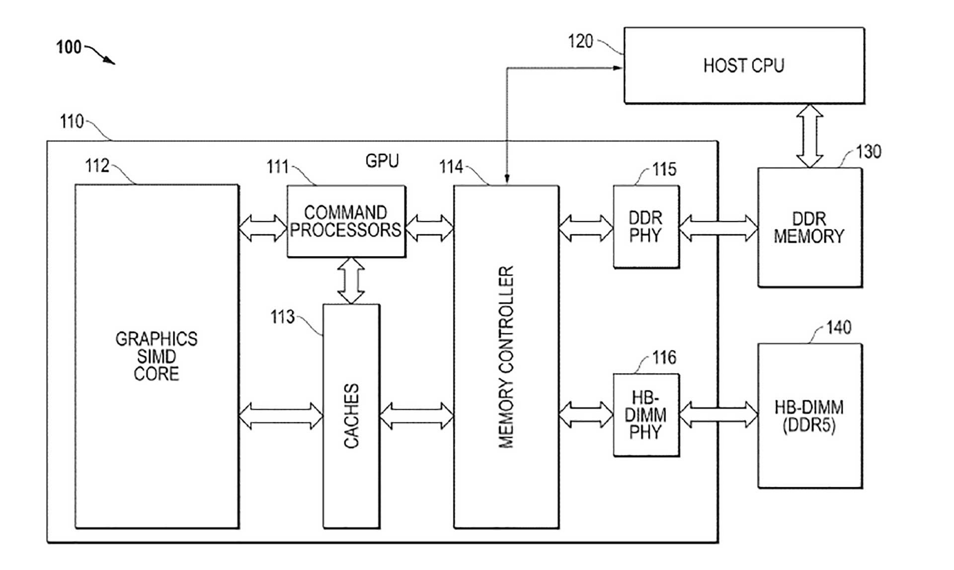
В первую очередь модули HB-DIMM направлены на сферу ИИ, где требования к пропускной способности памяти простые: чем больше, тем лучше.
Во-вторых, в патенте упоминаются гибридные процессоры. Поскольку интегрированные видеоядра в качестве видеопамяти используют оперативную, пропускная способность которой сильно меньше, HB-DIMM может неплохо «бустануть» встроенные видеоядра. Ну и раз речь про гибриды, значит, на потребительский сегмент AMD тоже нацелена.
Не пропусти главное в мире ПК
Мы публикуем последние новости из компьютерного мира. Подписывайся, чтобы быть в курсе и ничего не пропустить.