

Вдарим кэшем по кризису! AMD намерена увеличить объём кэша L2
Ищете идеальный компьютер?
Мы поможем подобрать ПК под игры, работу или учебу.
Процессоры Ryzen с технологией X3D отлично себя зарекомендовали в игровых ПК и не только. Благодаря дополнительному кэшу третьего уровня производительность в ряде задач заметно больше, а требования к оперативной памяти меньше. Покупателям они тоже приглянулись. Согласно нашей статистике продаж за декабрь, X3D-модели заняли аж две позиции в топ-5, и три в топ-10.
На достигнутом «красная» команда останавливаться не собирается. Компания опубликовала исследовательскую работу «Кэш с балансной задержкой и стекированием» и подала заявку на соответствующий патент. По-простому говоря, AMD намерена наращивать кэш L2.
Краткое содержание
- Вслед за наращиванием объёма кэша L3 AMD взялась за L2;
- «На бумаге» технология выглядит здраво;
- Потенциально может использоваться и в видеокартах;
- Учитывая ситуацию на рынке памяти, разработка AMD подоспела очень вовремя, ведь чем больше кэши, тем меньше нужно памяти.
AMD X2D
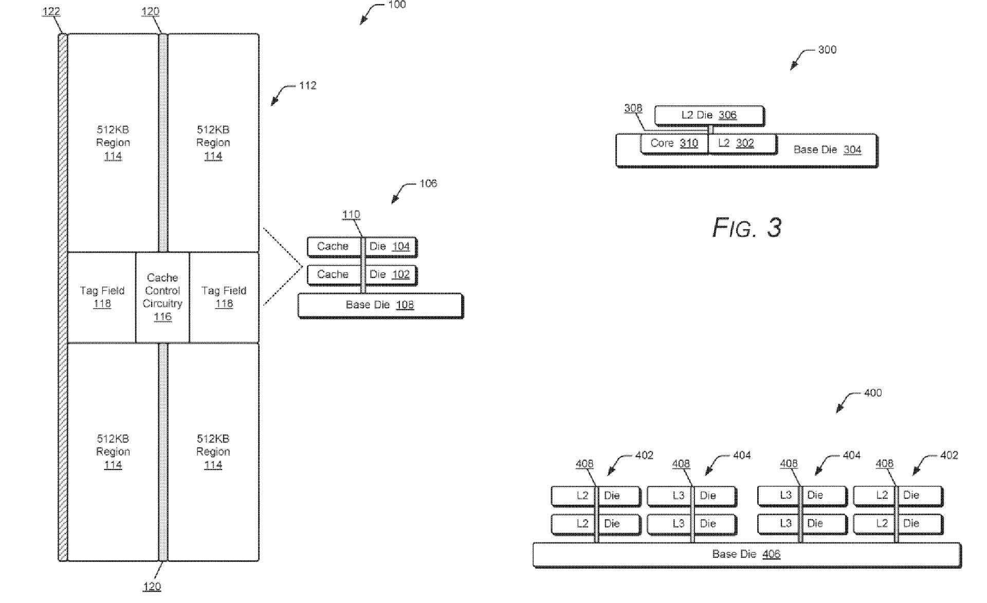
В опубликованном документе описывается метод увеличения объёма кэш-памяти второго уровня с помощью дополнительного кристалла. По сути, подход полностью аналогичен тому, что применяется в X3D-процессорах с дополнительным кэшем L3. В патенте отдельно отмечается, что новая технология обеспечивает значительное снижение задержек и энергопотребления по сравнению с кэшем аналогичного размера непосредственно в процессоре.
Обычный планарный L2M-кэш объемом 1 МБ имеет задержку в 14 тактов, в то время как многослойный L2M-кэш объемом 1 МБ, реализованный с использованием описанных методов, имеет задержку всего в 12 тактов. Это позволяет реализовать более крупный многослойный кэш, чем типичный планарный кэш, и при этом достичь той же или лучшей задержки по тактам. Кроме того, благодаря экономии энергии, уменьшению ёмкости и меньшему расстоянию, выделяется меньше тепла.
— выдержка из исследовательской работы AMD.
Напоминаем
Кэш L2 (или кэш второго уровня) — это сверхбыстрая память прямо в процессоре. В ней хранятся данные и инструкции, которые нужны прямо сейчас, или потребуются в ближайшее время. Кэш L2 феноменально быстрый, но очень маленький. К примеру, в составе Ryzen 9800X3D всего 8 МБ кэша L2 против 96 МБ кэша L3. Что касается скорости, L2 обеспечивает ~2 ТБ/с c задержкой около 2,7 нс, а L3 — ~700 ГБ/с и 16 нс.
Технология наслоения кэшей и видеокарты
Дополнительный чип с памятью L2 — только половина технологии. В патенте также описывается возможность наслоения нескольких микросхем с кэш-памятью. Судя по изображениям, пока AMD рассматривает только «двухэтажные» чипы. На практике это означает большие возможности по наращиванию кэшей L2 и L3.


Более того, такой подход вполне можно использовать и в видеокартах, у которых тоже есть кэши L3 и L2. Увеличение объёма кэша напрямую сказывается на требованиях видеокарты к видеопамяти.
В своё время NVIDIA сильно критиковали за «кастрацию» подсистемы памяти RTX 4060 (8 ГБ, 128 бит) относительно RTX 3060 (12 12 ГБ, 192 бит). Но по факту RTX 4060 оказалась быстрее даже в играх с высокими требованиями к видеопамяти — всё из-за кэша L2, который увеличился с 3 МБ до 24 МБ. Учитывая положение на рынке памяти, разработка AMD очень в тему.
Не разгоняемся
Хотя «с дивана» технология кажется весьма интересной, очень вряд ли мы увидим абстрактные Ryzen X2D3D в процессорах следующего поколения. На данный момент речь идёт о патенте, и до появления «живой» продукции может пройти не один год. Добавим, что патенты AMD далеко не всегда добираются до реализации.
Не пропусти главное в мире ПК
Мы публикуем последние новости из компьютерного мира. Подписывайся, чтобы быть в курсе и ничего не пропустить.




